Мы используем cookie для наилучшего представления нашего сайта. Подробнее об этом в Политике конфиденциальности.
Ок

Дзержинск

Ваш город:
Дзержинск (Нижегородская область)?
Нет
Да
Каталог
Каталог Написать в WhatsApp
Мотоэкипировка

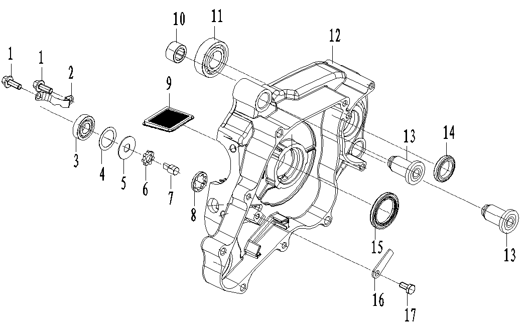
Двигатель ПИТБАЙКА FRATELI FRZ 90E

  • Движ_Каталог на FRATELI FRZ 90е на сайт
Для ускорения поиска, Ты можешь ввести здесь часть названия детали, например «Поршень»

On-line каталоги

Главная Магазины
Корзина0
Профиль